Le porte per garage motorizzate, come abbiamo visto in questo articolo, necessitano di una protezione ulteriore, tenendo ben presente che porte scorrevoli, porte basculanti e portoni sezionali hanno bisogno di sistemi di sicurezza differenti. Nell’articolo precedente, ad esempio, abbiamo commentato la serratura elettrica V09 per la difesa di portoni sezionali e cancelli scorrevoli. Oggi, invece, parleremo di come difendere al meglio le porte basculanti automatiche.
Per proteggere porte basculanti motorizzate, suggeriamo le Serrature Elettriche Viro V06 o 9087:

Serratura Elettrica V06 per porte basculanti

Serratura Elettrica 9087 per porte basculanti
Gli accessori studiati per queste serrature (ideali per i cancelli automatizzati a doppia anta), le rendono adatte anche alle porte basculanti motorizzate:
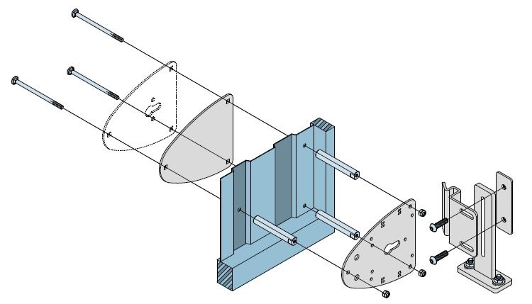
- le piastre di fissaggio in acciaio zincato permettono l’installazione della serratura V06 o della 9087 sulla porta basculante, collegandole via cavo alla centralina dell’automatismo.
- Grazie a questa soluzione si potrà continuare a utilizzare lo stesso telecomando dell’automatismo presente sulla porta anche per sbloccare la serratura, senza dover scendere dal veicolo per ottenere manualmente l’apertura, come invece avviene con le normali serrature meccaniche.

Apertura automatica di porta e serratura con lo stesso telecomando.
Nell’immagine principale del post è possibile vedere l’applicazione della serratura V06 su una porta basculante motorizzata, sotto, invece, i dettagli.
Vista dall’interno

Dettaglio applicazione della serratura elettrica V06 su porta basculante motorizzata.

Dettaglio fase di chiusura della serratura elettrica V06 su porta basculante motorizzata.
Vista dall’esterno
In caso di mancanza di elettricità, l’opzione con doppio cilindro si dimostra utile per l’apertura manuale anche dall’esterno.

Dettaglio esterno V06 con opzione rosetta

Dettaglio esterno V06 con opzione ghiera in nylon
Alcuni dettagli sugli accessori:
- Provviste di un catenaccio rotante, posto al centro della serratura, e predisposte per qualsiasi doppio o mezzo cilindro profilato, grazie alle loro caratteristiche, le serrature V06 e 9087 permettono un’applicazione molto flessibile: sia in orizzontale o in verticale sui cancelli a doppia anta, che lateralmente a destra o a sinistra sui basculanti motorizzati.
- Una robusta colonnetta in acciaio a forma di T, ancorata a terra con adeguati tasselli di serie, alloggia il catenaccio una volta chiusa la serratura, impedendone il sollevamento dall’esterno.
- Per ogni serratura elettrica è disponibile un nuovo Kit opzionale di collegamento elettrico, in abbinamento ai motori per porte basculanti senza comando diretto di alimentazione.
Il kit è composto da: trasformatore, temporizzatore, interruttore magneto termico, portafusibili e piastrina di chiusura.
Nuovo kit opzionale (art. 1.7918.0850) di collegamento elettrico delle serratura all’automatismo esistente
Ricordiamo ancora che le serrature elettriche V06 e 9087 sono ideali anche per l’applicazione su cancelli automatizzati a doppia anta.
Per maggiori dettagli, vedere le schede tecniche V06 e 9087.
Per maggiori informazioni, ti invitiamo a visitare il nuovo sito Viro dedicato al mondo della sicurezza per garage!


Ho subito 2 volte in sei mesi la forzatura e apertura di un basculante motorizzato con pistone idraulico ,
prima di ripristinare il tutto vorrei mettere in sicurezza il basculante con il vostro dispositivo, catenaccio rotante, elettroserratura mi potete segnalare eventuali istallatori nella zona di Bologna, da contattare.
Grazie.
Vignoli Andrea Via Vitale da Bologna ,6 40133 Bologna
cell.3314735825
mail vignand@libero.it
Gentile Andrea,
La ringraziamo dell’interessamento ai ns. prodotti di sicurezza.
Viro non collabora direttamente con gli installatori dei vari prodotti, ma la invitiamo a rivolgersi ad uno dei ns. rivenditori di zona (che spesso si avvalgono di professionisti di fiducia). Può ricercare i ns. rivenditori tramite il nostro sito: https://www.viro.it/it-it/rivenditori/
Nel caso abbia già identificato l’esatto codice articolo, acceda alla pagina del sito relativa allo specifico articolo, in fondo troverà una tabella con i codici e le dimensioni del prodotto, quindi clicchi sulla lente di ingrandimento posta di fianco al codice e nei menu che si apriranno in successione selezioni: versione del prodotto, regione, provincia e comune di appartenenza.
https://www.viro.it/it-it/ferramenta/serrature-incontri-elettrici/v06-universale-catenaccio-rotante-doppia-funzione
https://www.viro.it/it-it/ferramenta/serrature-incontri-elettrici/v06-v9087-accessori
Cordiali saluti,
Marketing Staff Viro.